首页
建站
品牌型网站建设
营销型网站建设
响应式网站建设
手机微信网站建设
H5落地页
商城
电商解决方案
小程序商城
新零售商城方案
社交裂变分销方案
进销存管理方案
POS收银方案
智能硬件
收银机
智能手持设备
打印设备
扫码设备
多端小程序
多端小程序
多端小程序
微信小程序
百度小程序
抖音、头条小程序
模板
资讯
案例
淘宝店面
关于我们
部分案例
小程序案例
APP案例
上门按摩
OA、CRM管理系统
当前位置:
首页
>>
案例
>>
上门按摩
>>
查看详情
扦护达人
查看案例
1.1扦护达人技师端账号:15605607792 ,密码 111111
1.2扦护达人用户端账号:关注扦护达人微信公众号,点击微信登录
具体演示如下:
2.1
用户端登录页面
2.2
用户端首页展示,如图所示
2.3
用户可在首页选择对应地区,匹配地区技师后,可查看技师详情,选择项目,如图所示
2.4
用户选择项目后可选择会员购或原价购,填写服务地址,服务时间,上门类型和备注后,即可确认支付,如图所示
2.5
用户可使用微信支付,支付宝支付和余额支付,确实支付后跳转到订单详情页面,显示待接单状态,如图所示
2.6
用户在订单页面可查看订单信息,如图所示
2.7
用户选择下单项目,能查看到技师已接单,如图所示
2.8
技师出发后,订单显示已出发标志,如图所示
2.9
用户在技师到达后,点击开始服务按钮,如图所示
2.10
用户可在订单中增项补价,评价技师,项目结束后点击完成服务按钮,如图所示
2.11
用户点击完成服务按钮后,可对技师进行评价和增项补价
2.12
用户评价后该订单显示已完成状态,可在订单内申请发票,如图所示
3.1
技师端登录页面,输入账号,密码后点击登录按钮,如图所示
3.2
技师首页展示可上传生活照,设置接单时间,接单范围,接单助手,健康档案,选择入驻商家。如图所示
3.3
技师在订单页面中显示新单提示,如图所示
3.4
技师点击待接单,新订单后,在规定时间内点击技师接单按钮,如图所示
3.5
技师点击技师接单按钮后,技师根据订单信息前往用户地点,点击技师出发按钮,如图所示
3.6
技师出发后,到达指定位置,可选择技师到达按钮,如图所示
3.7
技师到达后,要在服务地现场打卡,如图所示
3.8
技师上传现场照片,点击刷新地址按钮后,点击提交按钮,提示打卡成功,如图所示
3.9
技师项目完成后,用户点击服务完成按钮后,订单信息显示已完成,如图所示
4.1
商家端登录界面输入账号,密码后点击登录按钮,如图所示
4.2
商家端首页显示营业状态,我的订单,我的钱包,功能展示,辅助功能,如图所示
4.3
商家点击技师按钮,显示商家内技师资料,展示技师资料,接单时间,健康档案,技师项目,如图所示
4.4
商家点击订单按钮,展示商家所有技师接单订单,如图所示
4.5
商家点击我的按钮,显示主接单号,副接单号,缴纳保证金等,如图所示
5.1
扦护达人后台管理系统登录页面输入用户名,账号后,点击登录按钮,如图所示
5.2
控制台中显示综合统计,如图所示
5.3.1
系统设置中下拉框选项有系统配置,附件管理,个人资料和轮播图,如图所示
5.3.2
附件管理显示应用中上传的附件,如图所示
5.3.3
个人资料页面显示登录人信息,如图所示
5.3.4
轮播图展示应用首页图片,可上传首页图片,如图所示
5.4.1
权限管理中的管理员管理显示可登录后台管理账号的信息,如图所示
5.4.2
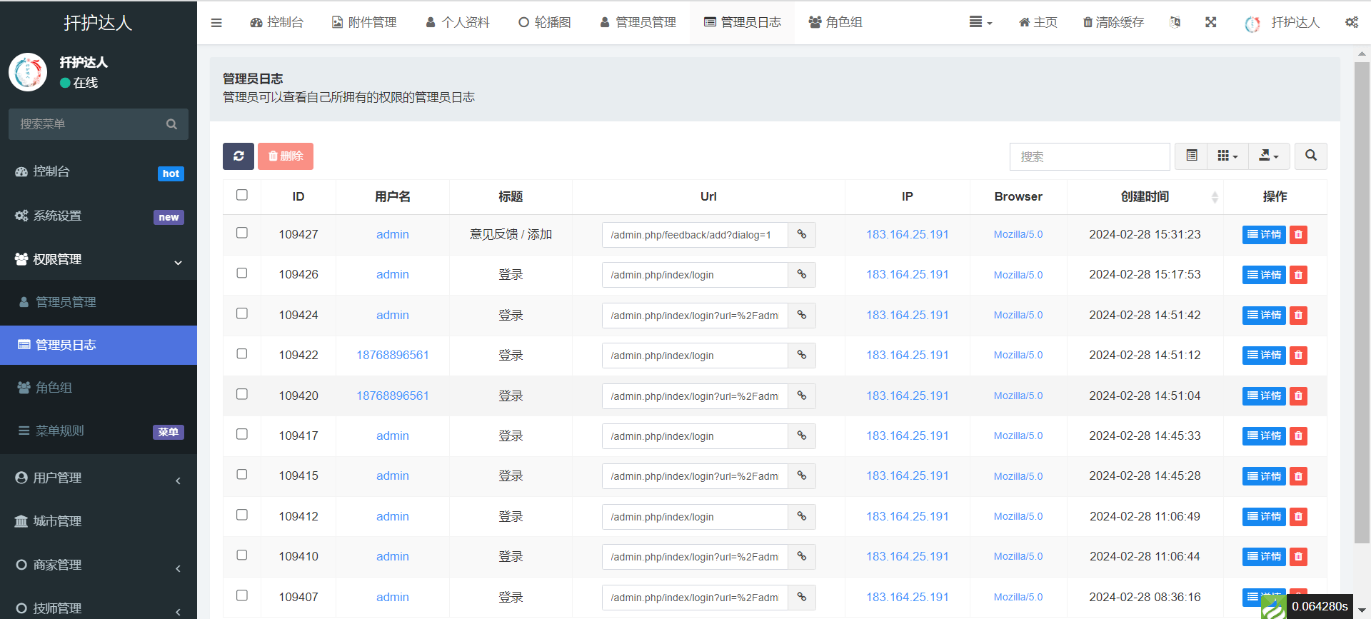
管理员日志展示登录后台管理系统操作日志,如图所示
5.4.3
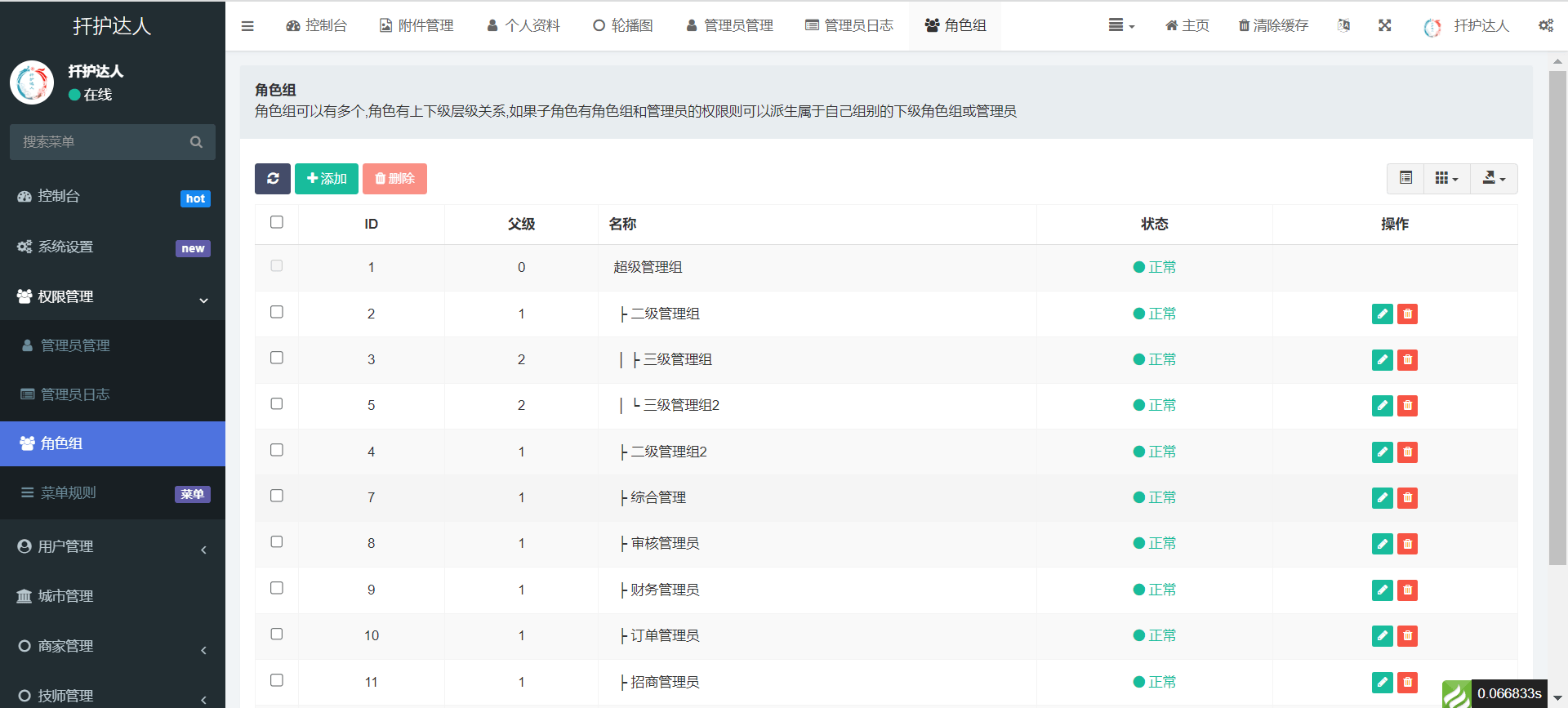
角色组页面显示各级管理组,如图所示
5.4.4
菜单规则中可添加删除后台管理系统目录,如图所示
5.5.1
用户管理下中用户信息页面展示所有用户登录信息,如图所示
5.5.2
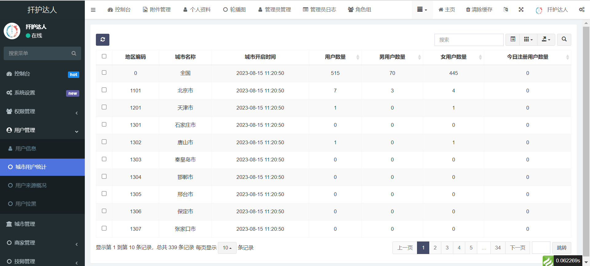
城市用户统计页面展示用户登录所在城市,如图所示
5.5.3
用户来源概况页面展示用户来源统计,如图所示
本文来源:
安徽五一信息科技软件
,转载请注明出处!如果需要
营销型网站建设
、
微商城
、
小程序商城
、
多端小程序
请联系我们!
扫一扫,加我微信
上一案例:
没有了
下一案例:
没有了
建站
品牌型网站建设
营销型网站建设
响应式网站建设
手机微信网站建设
H5落地页
商城
小程序商城
新零售商城方案
社交裂变分销方案
进销存管理方案
POS收银方案
多端小程序
多端小程序
微信小程序
百度小程序
抖音、头条小程序
关于我们
公司介绍
荣誉资质
信用报告
招贤纳士
付款方式
联系方式
扫一扫关注公众号
全国统一服务热线
400-0551-190
友情链接:
五一科技
五一建站
五一易站
技术支持:五一软件
Copyright © 2023-2028
安徽五一信息科技有限公司
版权所有
皖ICP备15004617号
400-0551-190
客户经理-李经理:57576144
李经理:57576144